For 3 or more elements, the assembly kit is composed by 3 tie-rods, 3 washers and 3 nuts

ED Accessories and fixation Elements


For 1 or 2 elements, the assembly kit is composed by 3 screws and 3 washers


The kit is composed by 2 brackets, 4 screws and 4 washers.

The assembly kit is composed by 4 screws and 4 washers.

The spacers (code 44-00257012) are fitted in order to install longer tie-rods for future insertion of an extra directional element.



To have information about the pressure drops on elements, see the (DELTA P-Q) curves of P>T of A201 circuit of ED1 (RE 18301-01) or ED2 (RE 18301-02) modular elements.
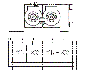
Flangeable elements with A and B ports in one side

scheme 1
Also available flangeable elements with A and B ports in one side, oriented either toward the inlet (TE) side, or toward the outlet (TC) side (see Hydraulic symobol 1).
Flangeable elements with A and B ports in one side, and with an intermediate body for connection of A and P

scheme 2
For flangeable elements with A and B ports in one side there is also a flangeable body to connect the A port of one element to the P port of the following element (see Hydraulic symobol 2).