041149X56Z

VSBN-08A

041149X56Z
RE18318-04-01(2023-11-22)
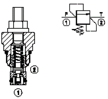
Description

Flow is blocked from 1 to 2 until pressure increases to meet the selected valve setting, lifting the poppet from its seat and allowing relief flow through port 2 to tank. Pressure at port 2 is additive to the relief setting of the valve. The unique Bosch Rexroth Oil Control poppet design provides enhanced stability at all flows and pressures.

Product Note¹) Max. to 80% of nominal setting

Product Note²) Standard version X=03 type

Product Note³) Only external seals for 10 valves

General
Max. operating pressure port 1 (P):
  • 350 bar (5000 psi)
Max. pressure admitted port 2 (T):
  • 140 bar (2000 psi)
Max. flow:
  • 20 l/min (5.3 gpm)
Max. internal leakage¹):
  • 15 drops/min.
Fluid temperature range:
  • -30 to 100 °C (-22 to 212 °F)
Installation torque:
  • 34 - 41 Nm (25 - 30 ft-lbs)
Weight²):
  • 0.09 kg (0.2 lbs)
Cavity:
  • CA-08A-2N (see data sheet 18325-70)
Lines bodies and standard assemblies:
  • Please refer to section “Hydraulic integrated circuit” or consult factory
MTTFD:
  • 150 years see data sheet 18350-51
Seal kit³):
  • Code: RG08A2010520100
  • material no: R901101437
Fluids:
  • Mineral-based or synthetics with lubricating properties at viscosities of 10 to 500 mm²/s (cSt)
Recommended degree of fluid contamination:
  • Nominal value max. 10μm (NAS 8) / ISO 4406 19/17/14
Installation position:
  • No restrictions
Other Technical Data:
  • See data sheet 18350-50
RE18318-04-02(2023-11-22)

Product NoteNote: Special settings available. Contact factory authorized representative for ordering code.

Product Note* minimum pressure setting intended with Q=5 l/min.

RE18318-04-order(2023-11-22)
RE18318-04-dim(2023-11-22)