Valve element with direct proportional pressure compensated control of inlet, P line, flow.
Three way pressure compensator included.
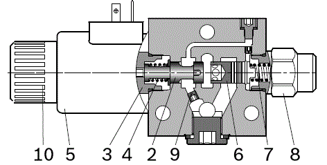
Wet pin proportional tube for removable DC coil.
In the de-energized condition, the control spool is held in normal position by return spring.
Solenoid tube with push rod for mechanical override; nickel plated surface.
Manual override (push-button, screw type) available as option.
Plug-in connectors available: EN 175301-803 (Was DIN 43650); DT04-2P (Deutsch); Amp Junior.
Size 6
Series 00
Maximum operating pressure 250 bar (3625 psi)
Maximum flow 40 l/min (10.6 gpm)
NEW spool position sensor available for this valve. See RE18300-30


