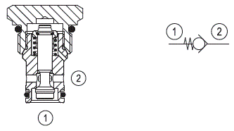
Description
When pressure at 2 rises above the spring bias pressure, the poppet is pushed from its seat and flow is allowed from 2 to 1. The valve is closed (checked) from 1 to 2. Precision machining and hardening processes allow virtually leak-free performance in the checked condition.


